Rheem Water Heater Flammable Vapor Sensor Reset . If your water heater is giving a error for flammable vapor sensor then keep reading and watch this. rheem flammable vapor sensor reset problem mainly occurs when the sensor constantly triggering by any gasoline or other flammable gas around the heater. Plus, incompatible resistance of the sensor or at times faulty fvs itself lead to the issue. is your water heater showing a flammable vapor sensor code? how do i reset the flammable vapor sensor on a rheem water heater? got hot water? Luckily that error code can easily be reset and you will. to reset rheem water heater flammable vapor sensor, press arrow buttons following if using white rodgers gas valve.
from www.northamericahvac.com
how do i reset the flammable vapor sensor on a rheem water heater? got hot water? Luckily that error code can easily be reset and you will. Plus, incompatible resistance of the sensor or at times faulty fvs itself lead to the issue. is your water heater showing a flammable vapor sensor code? If your water heater is giving a error for flammable vapor sensor then keep reading and watch this. rheem flammable vapor sensor reset problem mainly occurs when the sensor constantly triggering by any gasoline or other flammable gas around the heater. to reset rheem water heater flammable vapor sensor, press arrow buttons following if using white rodgers gas valve.
Rheem Ruud GE Water Heater Flammable Vapor FV Sensor Kit AP134473
Rheem Water Heater Flammable Vapor Sensor Reset to reset rheem water heater flammable vapor sensor, press arrow buttons following if using white rodgers gas valve. how do i reset the flammable vapor sensor on a rheem water heater? is your water heater showing a flammable vapor sensor code? to reset rheem water heater flammable vapor sensor, press arrow buttons following if using white rodgers gas valve. rheem flammable vapor sensor reset problem mainly occurs when the sensor constantly triggering by any gasoline or other flammable gas around the heater. If your water heater is giving a error for flammable vapor sensor then keep reading and watch this. got hot water? Plus, incompatible resistance of the sensor or at times faulty fvs itself lead to the issue. Luckily that error code can easily be reset and you will.
From wirelistcyaniding.z14.web.core.windows.net
Rheem Water Heater Settings Rheem Water Heater Flammable Vapor Sensor Reset rheem flammable vapor sensor reset problem mainly occurs when the sensor constantly triggering by any gasoline or other flammable gas around the heater. If your water heater is giving a error for flammable vapor sensor then keep reading and watch this. Plus, incompatible resistance of the sensor or at times faulty fvs itself lead to the issue. to. Rheem Water Heater Flammable Vapor Sensor Reset.
From www.uswhpro.com
Water Heater Flammable Vapor Sensor 101 Rheem Water Heater Flammable Vapor Sensor Reset Plus, incompatible resistance of the sensor or at times faulty fvs itself lead to the issue. rheem flammable vapor sensor reset problem mainly occurs when the sensor constantly triggering by any gasoline or other flammable gas around the heater. If your water heater is giving a error for flammable vapor sensor then keep reading and watch this. is. Rheem Water Heater Flammable Vapor Sensor Reset.
From www.waterheatersnow.com
Troubleshooting Guide Rheem Tankless Water Heater Reset Button Rheem Water Heater Flammable Vapor Sensor Reset Luckily that error code can easily be reset and you will. Plus, incompatible resistance of the sensor or at times faulty fvs itself lead to the issue. is your water heater showing a flammable vapor sensor code? If your water heater is giving a error for flammable vapor sensor then keep reading and watch this. how do i. Rheem Water Heater Flammable Vapor Sensor Reset.
From www.youtube.com
FVS Flammable Vapor Sensor Replacement on Ruud or Rheem Natural gas Rheem Water Heater Flammable Vapor Sensor Reset Plus, incompatible resistance of the sensor or at times faulty fvs itself lead to the issue. is your water heater showing a flammable vapor sensor code? to reset rheem water heater flammable vapor sensor, press arrow buttons following if using white rodgers gas valve. If your water heater is giving a error for flammable vapor sensor then keep. Rheem Water Heater Flammable Vapor Sensor Reset.
From www.uswhpro.com
Water Heater Flammable Vapor Sensor 101 Rheem Water Heater Flammable Vapor Sensor Reset If your water heater is giving a error for flammable vapor sensor then keep reading and watch this. Plus, incompatible resistance of the sensor or at times faulty fvs itself lead to the issue. rheem flammable vapor sensor reset problem mainly occurs when the sensor constantly triggering by any gasoline or other flammable gas around the heater. got. Rheem Water Heater Flammable Vapor Sensor Reset.
From www.youtube.com
Water Heater Reset Flammable Vapor Sensor YouTube Rheem Water Heater Flammable Vapor Sensor Reset Luckily that error code can easily be reset and you will. to reset rheem water heater flammable vapor sensor, press arrow buttons following if using white rodgers gas valve. how do i reset the flammable vapor sensor on a rheem water heater? If your water heater is giving a error for flammable vapor sensor then keep reading and. Rheem Water Heater Flammable Vapor Sensor Reset.
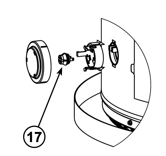
From www.supplyhouse.com
AP134473 Rheem AP134473 Flammable Vapor Sensor Rheem Water Heater Flammable Vapor Sensor Reset Plus, incompatible resistance of the sensor or at times faulty fvs itself lead to the issue. rheem flammable vapor sensor reset problem mainly occurs when the sensor constantly triggering by any gasoline or other flammable gas around the heater. is your water heater showing a flammable vapor sensor code? how do i reset the flammable vapor sensor. Rheem Water Heater Flammable Vapor Sensor Reset.
From www.uswhpro.com
Water Heater Flammable Vapor Sensor 101 Rheem Water Heater Flammable Vapor Sensor Reset got hot water? Luckily that error code can easily be reset and you will. rheem flammable vapor sensor reset problem mainly occurs when the sensor constantly triggering by any gasoline or other flammable gas around the heater. how do i reset the flammable vapor sensor on a rheem water heater? is your water heater showing a. Rheem Water Heater Flammable Vapor Sensor Reset.
From diyquickly.com
How to Bypass Flammable Vapor Sensor Described in 8 Steps(2024) Rheem Water Heater Flammable Vapor Sensor Reset Plus, incompatible resistance of the sensor or at times faulty fvs itself lead to the issue. is your water heater showing a flammable vapor sensor code? Luckily that error code can easily be reset and you will. to reset rheem water heater flammable vapor sensor, press arrow buttons following if using white rodgers gas valve. rheem flammable. Rheem Water Heater Flammable Vapor Sensor Reset.
From gambrick.com
How To Reset Rheem Water Heater Rheem Water Heater Flammable Vapor Sensor Reset to reset rheem water heater flammable vapor sensor, press arrow buttons following if using white rodgers gas valve. is your water heater showing a flammable vapor sensor code? Luckily that error code can easily be reset and you will. how do i reset the flammable vapor sensor on a rheem water heater? If your water heater is. Rheem Water Heater Flammable Vapor Sensor Reset.
From www.uswhpro.com
Water Heater Flammable Vapor Sensor 101 Rheem Water Heater Flammable Vapor Sensor Reset If your water heater is giving a error for flammable vapor sensor then keep reading and watch this. got hot water? Luckily that error code can easily be reset and you will. to reset rheem water heater flammable vapor sensor, press arrow buttons following if using white rodgers gas valve. how do i reset the flammable vapor. Rheem Water Heater Flammable Vapor Sensor Reset.
From www.youtube.com
Reset Flammable Vapor Sensor on Rheem Natural Gas Water Heater YouTube Rheem Water Heater Flammable Vapor Sensor Reset If your water heater is giving a error for flammable vapor sensor then keep reading and watch this. is your water heater showing a flammable vapor sensor code? Luckily that error code can easily be reset and you will. got hot water? rheem flammable vapor sensor reset problem mainly occurs when the sensor constantly triggering by any. Rheem Water Heater Flammable Vapor Sensor Reset.
From www.colegiosantainescampestre.edu.co
DIY How To Replace Flammable Vapor Sensor On A Rheem Water, 52 OFF Rheem Water Heater Flammable Vapor Sensor Reset Luckily that error code can easily be reset and you will. how do i reset the flammable vapor sensor on a rheem water heater? to reset rheem water heater flammable vapor sensor, press arrow buttons following if using white rodgers gas valve. rheem flammable vapor sensor reset problem mainly occurs when the sensor constantly triggering by any. Rheem Water Heater Flammable Vapor Sensor Reset.
From lildutchuncle.com
How To Reset Rheem Tankless Water Heater Guide] Rheem Water Heater Flammable Vapor Sensor Reset If your water heater is giving a error for flammable vapor sensor then keep reading and watch this. Plus, incompatible resistance of the sensor or at times faulty fvs itself lead to the issue. how do i reset the flammable vapor sensor on a rheem water heater? to reset rheem water heater flammable vapor sensor, press arrow buttons. Rheem Water Heater Flammable Vapor Sensor Reset.
From www.youtube.com
Rheem Water Heater Flammable Vapor Sensor jimmy rig temporary fix Rheem Water Heater Flammable Vapor Sensor Reset Plus, incompatible resistance of the sensor or at times faulty fvs itself lead to the issue. how do i reset the flammable vapor sensor on a rheem water heater? to reset rheem water heater flammable vapor sensor, press arrow buttons following if using white rodgers gas valve. Luckily that error code can easily be reset and you will.. Rheem Water Heater Flammable Vapor Sensor Reset.
From www.northamericahvac.com
OEM Rheem Ruud Richmond GE Water Heater Flammable Vapor FV Sensor Kit Rheem Water Heater Flammable Vapor Sensor Reset is your water heater showing a flammable vapor sensor code? how do i reset the flammable vapor sensor on a rheem water heater? Plus, incompatible resistance of the sensor or at times faulty fvs itself lead to the issue. If your water heater is giving a error for flammable vapor sensor then keep reading and watch this. . Rheem Water Heater Flammable Vapor Sensor Reset.
From jaketheplumbercompany.com
Flammable Vapor Sensor?? What's That? Jake The Plumber Rheem Water Heater Flammable Vapor Sensor Reset Luckily that error code can easily be reset and you will. Plus, incompatible resistance of the sensor or at times faulty fvs itself lead to the issue. got hot water? to reset rheem water heater flammable vapor sensor, press arrow buttons following if using white rodgers gas valve. is your water heater showing a flammable vapor sensor. Rheem Water Heater Flammable Vapor Sensor Reset.
From www.homedepot.ca
Rheem Flammable Vapour Sensor The Home Depot Canada Rheem Water Heater Flammable Vapor Sensor Reset Plus, incompatible resistance of the sensor or at times faulty fvs itself lead to the issue. got hot water? rheem flammable vapor sensor reset problem mainly occurs when the sensor constantly triggering by any gasoline or other flammable gas around the heater. is your water heater showing a flammable vapor sensor code? how do i reset. Rheem Water Heater Flammable Vapor Sensor Reset.